JUSTG新增了日本软银机房,线路为国内优化线路,机房位于日本东京,IP为日本东京本地原生ip,解锁Chatgpt以及TikTok等,目前在5折促销中,基础配置仅需要月付$9.99,需要的可以围观。
本文做一个简单测评,方便大家购买参考。

官方网站
日本东京机房软银线路vps:
KVM虚拟,SSD阵列,自带一个IPv4,三网软银线路,可以增加IPv4,1个3美元,2个6美元。测试IP:103.200.30.254,LookingGlass:https://jp.Justg.com/
| CPU | 内存 | SSD | 流量/带宽 | 价格 | 购买 |
| 1核 | 512M | 10G | 500G/500Mbps | $9.99/月 | 链接 |
| 2核 | 1G | 20G | 1T/500Mbps | $19.99/月 | 链接 |
| 3核 | 2G | 40G | 2T/500Mbps | $29.99/月 | 链接 |
| 4核 | 4G | 80G | 3T/500Mbps | $39.99/月 | 链接 |
| 5核 | 8G | 160G | 4T/500Mbps | $49.99/月 | 链接 |
| 6核 | 16G | 240G | 5T/500Mbps | $89.99/月 | 链接 |
| 7核 | 24G | 320G | 6T/500Mbps | $119.99/月 | 链接 |
站长测评:
配置信息/IO读写/CPU Benchmark测试:

ChatGPT/Tiktok解锁测试:支持

FIO测试硬盘读写:

Speedtest.net国内国外上行下行测试:


Speedtest亚洲节点上行下行测试:

Iperf3欧美地区的节点的测试:

测试机BIN文件,呼和浩特市电信本地下载测试:
Unix bench Mark性能跑分测试:

其他性能方面的部分测试结果:

国内ping测试:

全球丢包测试:

国内去程测试:

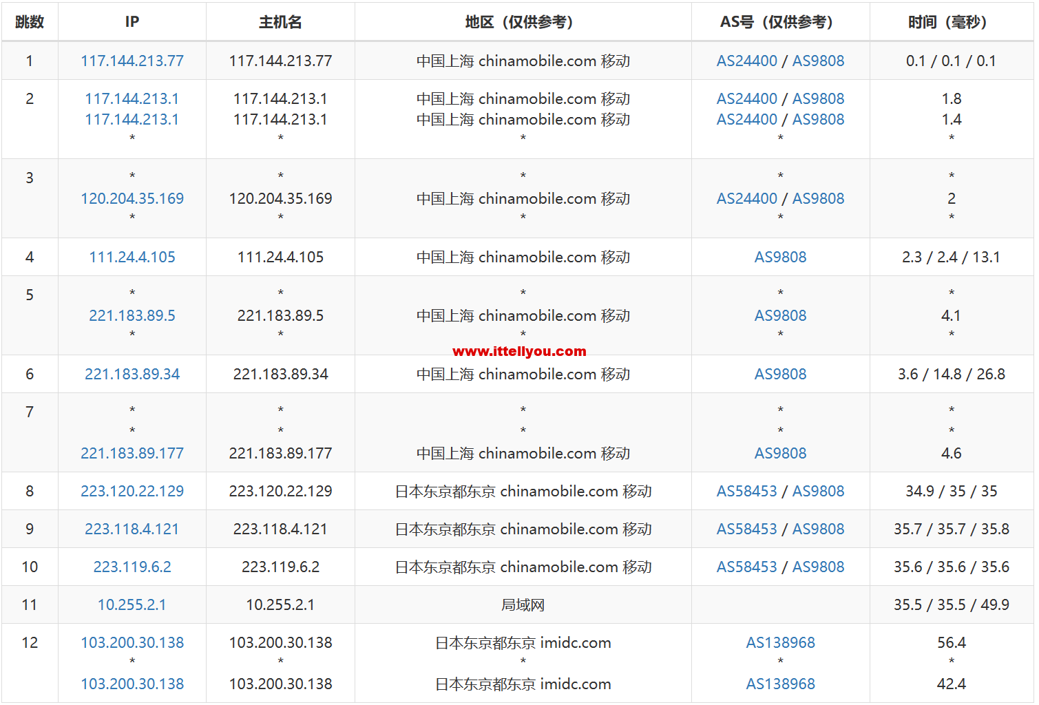
国内四网回程测试:
START -------------------- Round 1 - SuperTrace 路由到 - 北京电信 -------------------- traceroute to 106.37.68.26 (106.37.68.26), 30 hops max, 32 byte packets 1 85.208.212.38 0.35 ms AS138968 Japan, Tokyo 2 * 3 * 4 202.77.22.113 32.47 ms AS10099 China, Hong Kong, ChinaUnicom 5 219.158.112.245 35.87 ms AS4837 China, Shanghai, ChinaUnicom 6 219.158.8.181 31.85 ms AS4837 China, Shanghai, ChinaUnicom 7 219.158.7.125 29.62 ms AS4837 China, Shanghai, ChinaUnicom 8 * 9 219.158.110.58 57.60 ms AS4837 China, Beijing, ChinaUnicom 10 * 11 202.97.88.205 52.41 ms AS4134 China, Beijing, ChinaTelecom 12 * 13 * 14 bj141-162-218.bjtelecom.net (219.141.162.218) 54.31 ms AS4847 China, Beijing, ChinaTelecom 15 bj141-160-38.bjtelecom.net (219.141.160.38) 66.99 ms AS4847 China, Beijing, ChinaTelecom 16 * 17 26.68.37.106.static.bjtelecom.net (106.37.68.26) 54.17 ms AS4847 China, Beijing, ChinaTelecom -------------------- Round 2 - SuperTrace 路由到 - 北京联通 -------------------- traceroute to 202.96.18.1 (202.96.18.1), 30 hops max, 32 byte packets 1 85.208.212.38 0.36 ms AS138968 Japan, Tokyo 2 * 3 * 4 * 5 * 6 * 7 * 8 softbank221111202070.bbtec.net (221.111.202.70) 52.53 ms AS17676 China, Beijing, bbtec.net 9 219.158.3.145 55.21 ms AS4837 China, Beijing, ChinaUnicom 10 * 11 61.49.214.42 51.89 ms AS4808 China, Beijing, ChinaUnicom 12 61.148.6.22 50.32 ms AS4808 China, Beijing, ChinaUnicom 13 61.148.74.222 51.50 ms AS4808 China, Beijing, ChinaUnicom 14 * 15 * 16 * 17 202.96.18.1 49.65 ms AS4808 China, Beijing, ChinaUnicom -------------------- Round 3 - SuperTrace 路由到 - 北京移动 -------------------- traceroute to 211.136.66.129 (211.136.66.129), 30 hops max, 32 byte packets 1 85.208.212.38 0.38 ms AS138968 Japan, Tokyo 2 * 3 * 4 223.120.2.210 88.96 ms AS58453 China, Beijing, ChinaMobile 5 221.183.55.110 111.74 ms AS9808 China, Beijing, ChinaMobile 6 221.183.25.201 73.36 ms AS9808 China, Beijing, ChinaMobile 7 221.183.89.122 72.71 ms AS9808 China, Beijing, ChinaMobile 8 211.136.66.129 74.27 ms AS56048 China, Beijing, ChinaMobile -------------------- Round 4 - SuperTrace 路由到 - 北京教育 -------------------- traceroute to 210.31.160.77 (210.31.160.77), 30 hops max, 32 byte packets 1 85.208.212.38 0.38 ms AS138968 Japan, Tokyo 2 * 3 * 4 202.77.22.113 32.06 ms AS10099 China, Hong Kong, ChinaUnicom 5 219.158.24.57 57.06 ms AS4837 China, Shanghai, ChinaUnicom 6 219.158.19.74 64.59 ms AS4837 China, Shanghai, ChinaUnicom 7 219.158.19.81 71.77 ms AS4837 China, Shanghai, ChinaUnicom 8 219.158.6.169 79.14 ms AS4837 China, Beijing, ChinaUnicom 9 219.158.5.130 80.66 ms AS4837 China, Beijing, ChinaUnicom 10 219.158.34.34 82.03 ms AS4837 China, Beijing, ChinaUnicom 11 101.4.116.65 79.16 ms AS4538 China, Beijing, CHINAEDU 12 101.4.117.134 79.47 ms AS4538 China, Beijing, CHINAEDU 13 * 14 210.31.160.77 79.90 ms AS4538 China, Beijing, CHINAEDU -------------------- Round 5 - SuperTrace 路由到 - 上海电信 -------------------- traceroute to 101.95.89.90 (101.95.89.90), 30 hops max, 32 byte packets 1 85.208.212.38 0.33 ms AS138968 Japan, Tokyo 2 * 3 * 4 202.77.22.113 32.12 ms AS10099 China, Hong Kong, ChinaUnicom 5 219.158.24.57 61.17 ms AS4837 China, Shanghai, ChinaUnicom 6 219.158.19.74 59.17 ms AS4837 China, Shanghai, ChinaUnicom 7 * 8 219.158.6.222 62.97 ms AS4837 China, Shanghai, ChinaUnicom 9 * 10 * 11 101.95.88.73 65.68 ms AS4812 China, Shanghai, ChinaTelecom 12 101.95.89.90 57.57 ms AS4812 China, Shanghai, ChinaTelecom -------------------- Round 6 - SuperTrace 路由到 - 上海联通 -------------------- traceroute to 219.158.111.253 (219.158.111.253), 30 hops max, 32 byte packets 1 85.208.212.38 0.35 ms AS138968 Japan, Tokyo 2 * 3 * 4 * 5 * 6 * 7 * 8 softbank221111202014.bbtec.net (221.111.202.14) 38.97 ms AS17676 China, Shanghai, bbtec.net 9 219.158.113.134 36.89 ms AS4837 China, Shanghai, ChinaUnicom 10 219.158.111.253 33.59 ms AS4837 China, Shanghai, ChinaUnicom -------------------- Round 7 - SuperTrace 路由到 - 上海移动 -------------------- traceroute to 221.183.89.46 (221.183.89.46), 30 hops max, 32 byte packets 1 85.208.212.38 0.38 ms AS138968 Japan, Tokyo 2 * 3 * 4 223.120.3.246 32.54 ms AS58453 China, Shanghai, ChinaMobile 5 * 6 221.183.89.33 34.55 ms AS9808 China, Shanghai, ChinaMobile 7 221.183.89.46 34.28 ms AS9808 China, Shanghai, ChinaMobile -------------------- Round 8 - SuperTrace 路由到 - 上海教育 -------------------- traceroute to 202.112.27.18 (202.112.27.18), 30 hops max, 32 byte packets 1 85.208.212.38 0.39 ms AS138968 Japan, Tokyo 2 * 3 * 4 202.77.22.113 32.07 ms AS10099 China, Hong Kong, ChinaUnicom 5 219.158.112.245 35.13 ms AS4837 China, Shanghai, ChinaUnicom 6 219.158.113.134 33.62 ms AS4837 China, Shanghai, ChinaUnicom 7 219.158.113.113 28.59 ms AS4837 China, Shanghai, ChinaUnicom 8 219.158.8.241 91.70 ms AS4837 China, Beijing, ChinaUnicom 9 219.158.120.118 55.16 ms AS4837 China, Beijing, ChinaUnicom 10 219.158.34.34 52.42 ms AS4837 China, Beijing, ChinaUnicom 11 101.4.118.29 53.16 ms AS4538 China, Beijing, CHINAEDU 12 * 13 * 14 101.4.117.29 77.75 ms AS4538 China, Shanghai, CHINAEDU 15 * 16 202.112.27.18 141.11 ms AS24364 China, Shanghai, CHINAEDU -------------------- Round 9 - SuperTrace 路由到 - 广州电信 -------------------- traceroute to 219.135.131.210 (219.135.131.210), 30 hops max, 32 byte packets 1 85.208.212.38 0.30 ms AS138968 Japan, Tokyo 2 * 3 * 4 202.77.22.113 32.09 ms AS10099 China, Hong Kong, ChinaUnicom 5 219.158.24.57 61.72 ms AS4837 China, Shanghai, ChinaUnicom 6 219.158.19.74 60.95 ms AS4837 China, Shanghai, ChinaUnicom 7 219.158.19.81 57.20 ms AS4837 China, Shanghai, ChinaUnicom 8 * 9 219.158.119.14 88.88 ms AS4837 China, Guangdong, Guangzhou, ChinaUnicom 10 * 11 * 12 14.147.4.122 133.23 ms AS4134 China, Guangdong, Guangzhou, ChinaTelecom 13 * 14 * 15 183.63.68.234 84.58 ms AS4134 China, Guangdong, Guangzhou, ChinaTelecom 16 206.131.135.219.broad.gz.gd.dynamic.163data.com.cn (219.135.131.206) 84.22 ms AS4134 China, Guangdong, Guangzhou, ChinaTelecom 17 210.131.135.219.broad.gz.gd.dynamic.163data.com.cn (219.135.131.210) 125.46 ms AS4134 China, Guangdong, Guangzhou, ChinaTelecom -------------------- Round 10 - SuperTrace 路由到 - 广州联通 -------------------- traceroute to 210.21.11.1 (210.21.11.1), 30 hops max, 32 byte packets 1 85.208.212.38 0.33 ms AS138968 Japan, Tokyo 2 * 3 * 4 * 5 * 6 * 7 * 8 softbank221111202070.bbtec.net (221.111.202.70) 55.09 ms AS17676 China, Beijing, bbtec.net 9 219.158.115.158 72.11 ms AS4837 China, Guangdong, Guangzhou, ChinaUnicom 10 219.158.103.25 73.95 ms AS4837 China, Guangdong, Guangzhou, ChinaUnicom 11 * 12 120.86.0.186 81.26 ms AS17816 China, Guangdong, Guangzhou, ChinaUnicom 13 210.21.11.1 72.59 ms AS17622 China, Guangdong, Guangzhou, ChinaUnicom -------------------- Round 11 - SuperTrace 路由到 - 广州移动 -------------------- traceroute to 211.136.192.6 (211.136.192.6), 30 hops max, 32 byte packets 1 85.208.212.38 0.41 ms AS138968 Japan, Tokyo 2 * 3 * 4 223.120.3.146 31.88 ms AS58453 China, Shanghai, ChinaMobile 5 221.183.89.182 33.11 ms AS9808 China, Shanghai, ChinaMobile 6 221.183.89.69 33.58 ms AS9808 China, Shanghai, ChinaMobile 7 * 8 221.183.37.217 56.89 ms AS9808 China, Beijing, ChinaMobile 9 221.183.46.178 57.38 ms AS9808 China, Beijing, ChinaMobile 10 * 11 ns5.gd.cnmobile.net (211.136.192.6) 60.09 ms AS56040 China, Guangdong, Guangzhou, ChinaMobile -------------------- Round 12 - SuperTrace 路由到 - 广州教育 -------------------- traceroute to 202.112.19.9 (202.112.19.9), 30 hops max, 32 byte packets 1 85.208.212.38 0.40 ms AS138968 Japan, Tokyo 2 * 3 * 4 203.22.177.249 48.17 ms * China, Hong Kong, ChinaTelecom 5 121.59.105.142 48.47 ms * China, ChinaTelecom 6 101.4.117.70 78.19 ms AS4538 China, Hong Kong, CHINAEDU 7 101.4.114.181 82.68 ms AS4538 China, Beijing, CHINAEDU 8 * 9 101.4.117.81 68.33 ms AS4538 China, Beijing, CHINAEDU 10 101.4.112.2 80.07 ms AS4538 China, Henan, Zhengzhou, CHINAEDU 11 101.4.117.37 88.84 ms AS4538 China, Hubei, Wuhan, CHINAEDU 12 101.4.112.37 95.89 ms AS4538 China, Hunan, Changsha, CHINAEDU 13 101.4.117.34 88.02 ms AS4538 China, Guangdong, Guangzhou, CHINAEDU 14 101.4.114.61 103.11 ms AS4538 China, Guangdong, Guangzhou, CHINAEDU 15 * 16 19.112.202.in-addr.arpa.19.112.202.in-addr.arpa (202.112.19.9) 87.00 ms AS4538,AS24357 China, Guangdong, Guangzhou, CHINAEDU Finished in : 1 min 13 sec Timestamp : 2023-06-07 09:13:26 GMT+8 End
































蒙公网安备 15010502000974号